Ever been followed by a seemingly ordinary vehicle – say a Ford Crown Vic or Taurus – only to see lights suddenly flashing, and hear a voice beckoning you to pull over? If you’d paid close attention, you might have seen telltale signs that it was an unmarked police cruiser. But Ford is out to make that job just a little harder.
We discovered this patent, filed by the Blue Oval automaker with federal authorities, for a concealed lighting system that would make unmarked police cars even harder to spot.
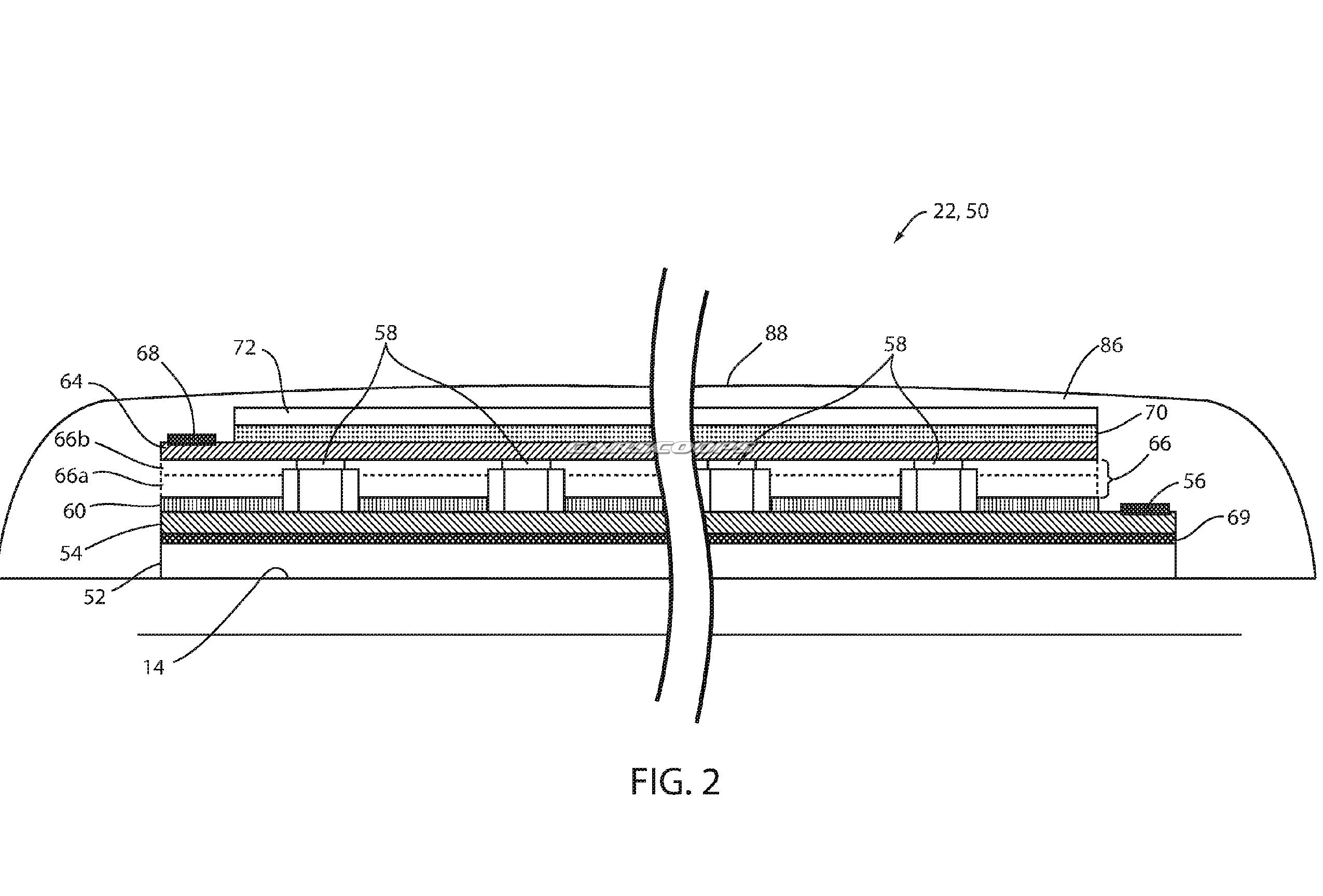
“The [light-] emitting layer comprises a reflective layer forming an interior surface configured to conform to an outer surface of the vehicle. The emitting layer further comprises a plurality of printed light sources substantially coating the reflective layer and an etched silicon layer,” reads the filed patent. “The silicon layer is configured to significantly match an appearance of the painted surface.”
In other words, the innovation makes use of printed lights that would ostensibly look like regular body panels, but illuminate at the flick of a switch. So what might look outwardly like, say, a Taurus, would suddenly reveal its true identity as a Police Interceptor (as Ford calls its law-enforcement version of the full-size four-door sedan).
Ford is one of the leading suppliers of police cars in the United States. In addition to the Taurus-based Police Interceptor sedan, it also offers the Explorer-based Police Interceptor Utility, the F-150 Police Responder, and the Fusion-based Police Responder Hybrid sedan. The introduction of a concealed-identity system like the one revealed by this patent application would ostensibly give Dearborn a leg-up over rival offerings like the Dodge Charger and Chevrolet Tahoe.





