Ford has patented a curious four-wheeled car that can be folded up thanks to its collapsible frame.
Published on the U.S. Patent Office’s website, the American automaker has dreamt up the car for emerging markets and believes it could prove particularly useful in the large cities of China and India.
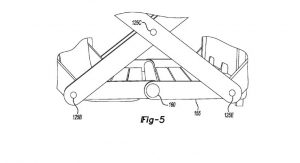
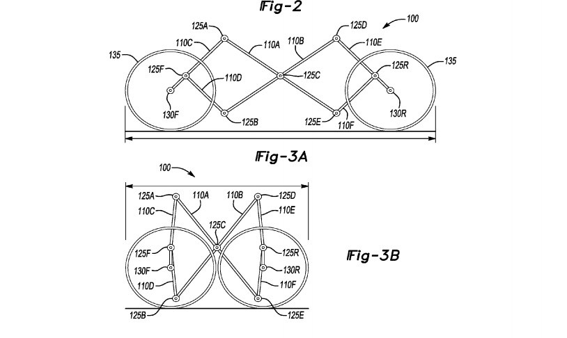
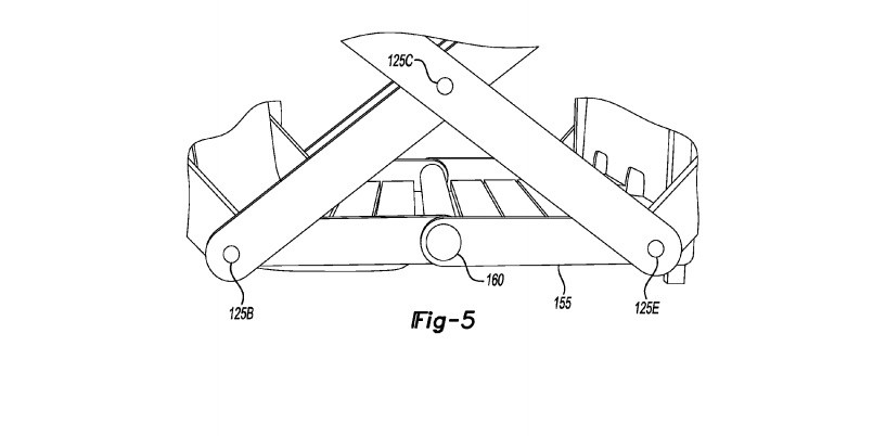
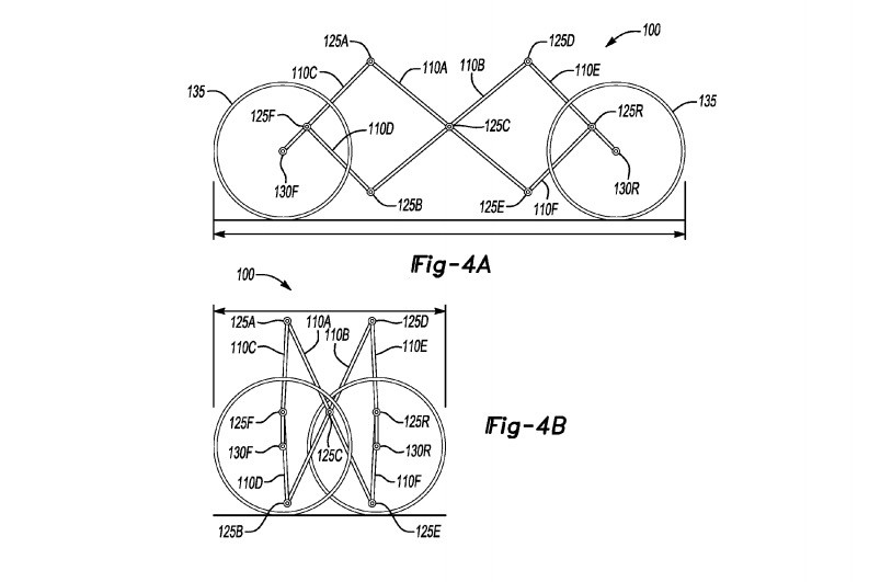
The vehicle itself is built around an X-frame structure and as the X-members can all pivot at a central axis, the frame can be folded up, much lack a collapsible bicycle.
As Patent Yogi discovered, the vehicle has been imagined with electric motors for power and lacks a fixed roof. Instead, it makes use of a retractable top to ensure it can deal with all manner of climatic conditions.
Just like a Tuk Tuk, it is operated by similar controls to a motorcycle, meaning there’s a handlebar rather than a steering wheel. It then makes use of either two or four small seats and would trundle down the road on a set of exceptionally thin wheels not dissimilar to those from cars produced 100 years ago.
While there’s a chance the vehicle will never see the light of day, Ford believes it could bridge the gap between bicycles and automobiles and offer practical, private transportation on a budget.







