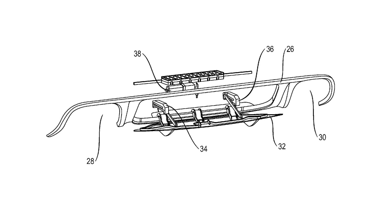
A number of images and details have surfaced depicting an active rear diffuser that has been patented by Porsche.
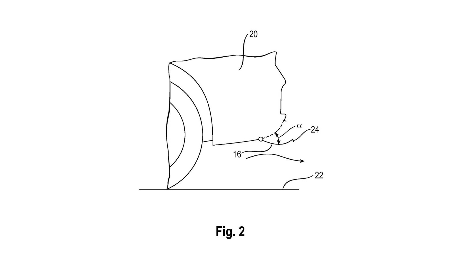
The patent was filed by the automaker with the United States Patent and Trademark Officer on September 27, 2016, and has just been published. It depicts an active flap that could deploy directly below the rear bumper to improve aerodynamics.
Whereas some pre-existing active diffusers, like the one on the LaFerrari, also use flaps to adjust aero, Porsche’s system differs as the flap isn’t integrated into the underbody and diffuser area of the car.
Instead, it would fold down from the rear bumper and effectively elongate the tail of the car. Porsche says it could be used by traditionally-powered vehicles as well as EVs.
“The embodiment that runs over the entire width of the rear end may be implemented, for example, in vehicles without exhaust-gas tailpipes, such as electric vehicles,” the filing reads.
Although Porsche has failed to announce any intent to bring the technology to the market, it is something that could benefit the brand’s track-oriented models, including the likes of the 911 GT3 and GT3 RS.



