Porsche has patented an A-pillar airbag for convertibles with the United States Patent and Trademark Office that could make droptops that little safer.
Due to a convertible’s lack of a fixed roof, they’re often not quite as safe as their hardtop counterparts and in certain crashes, including small overlap impacts, Porsche’s proposed A-pillar airbags could act as an important safety device in place of curtain airbags which convertibles make do without.
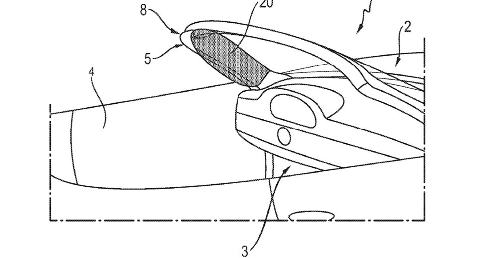
Diagrams of the patent show that the airbag stretches the length of the A-pillar when deployed and Porsche says that tests have proven it to be advantageous in crashes where an occupant moves forward and to the side.
Of course, it’s not just convertibles which could benefit from A-pillar airbags, all vehicles could be made that little bit safer with similar systems.




