A pair of patents filed by Mazda earlier this year detail a turbocharged rotary engine that, if put into production, will power the long-awaited RX-7 (and RX-8) successor.
Mazda has been very open about its desire to bring a new rotary-powered sports car to the market in recent years, but consistently said it wouldn’t do so until it had developed an engine that would meet its efficiency targets. This might be an indication that is has finally done it!
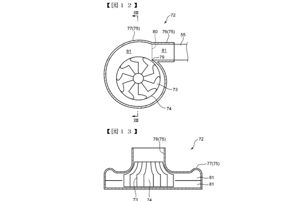
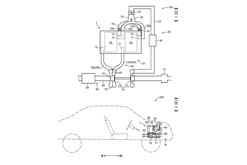
Motoring notes that the engine detailed in the renderings incorporates a new side-port exhaust arrangement which could improve intake efficiency. Additionally, there is a new turbocharger design bespoke to this powertrain.
The patent applications were filed in Japanese but a translation from Garage Alpha provide further details about the innovative powertrain and highlights the improved efficiency it has over previous implementations.
Also Read: Mazda Confirms Rotary’s Return As An EV Range Extender In Paris
The Japanese car manufacturer intends on introducing a rotary engine as a range extender for its forthcoming electric vehicles but it doesn’t appear as though the engine detailed in these patents is meant for that – at least not solely.
There have been long-held hopes that Mazda’s stunning RX-Vision Concept from 2015 would make it into production, perhaps in time for the carmaker’s centenary in 2020. However, Mazda research and development chief Kiyoshi Fujiwara denied that as a possibility back in October 2017. He did, however, indicate that there will come a day when a new rotary-powered Mazda sports car becomes a reality.
“We have still been developing rotary engines as a sports car. Technology is going well but if we launch this kind of model later, we will have to add more technology to it, like autonomous driving, electrification…” he said.




