If a number of recent autonomous vehicle concepts prove accurate, many cars in the future could ditch traditional seating arrangements in favor of seats that face each other. Or, if Ford has it its way, a spacious cabin perfect for roundtable discussions.
The U.S. Patent & Trademark Office recently published a patent that Ford filed in March 2016 that consists of four swivelling seats arranged in a circle around a table that can retract into the floor.
Engineering such an interior wouldn’t be too difficult, as long as the vehicle in question was an EV and didn’t require a transmission tunnel. Ford would then need to ensure the car has ample headroom to comfortably seat four, something certainly achievable.
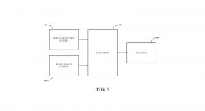
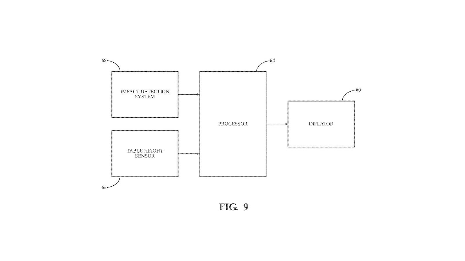
One interesting aspect of the patent is that the retractable table includes an airbag which would deploy in the event of a collision, protecting passengers from slamming head first into the table.
What we’re not quite sure about is how a crash would affect a person sitting sideways or backwards in the cabin. Inevitably, automakers have already thought about this issue and will resolve it if they are serious about reinventing car interiors.









