Just days after design patents indicated that the new Ford Bronco could feature removable doors like the Jeep Wrangler, Automobile Magazine has uncovered new ones that depict a detachable cloth top.
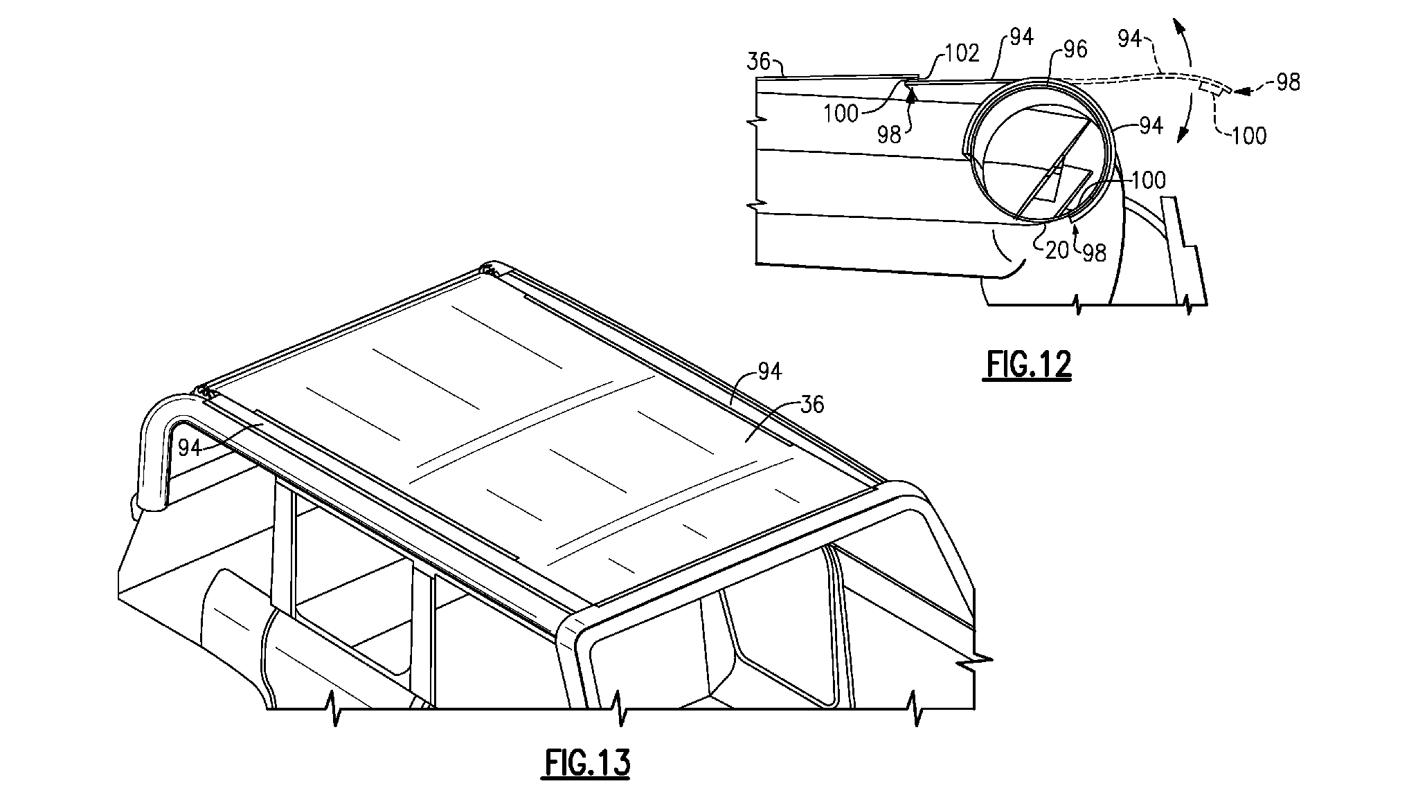
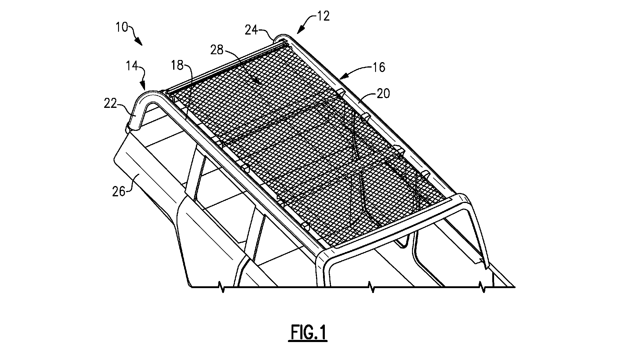
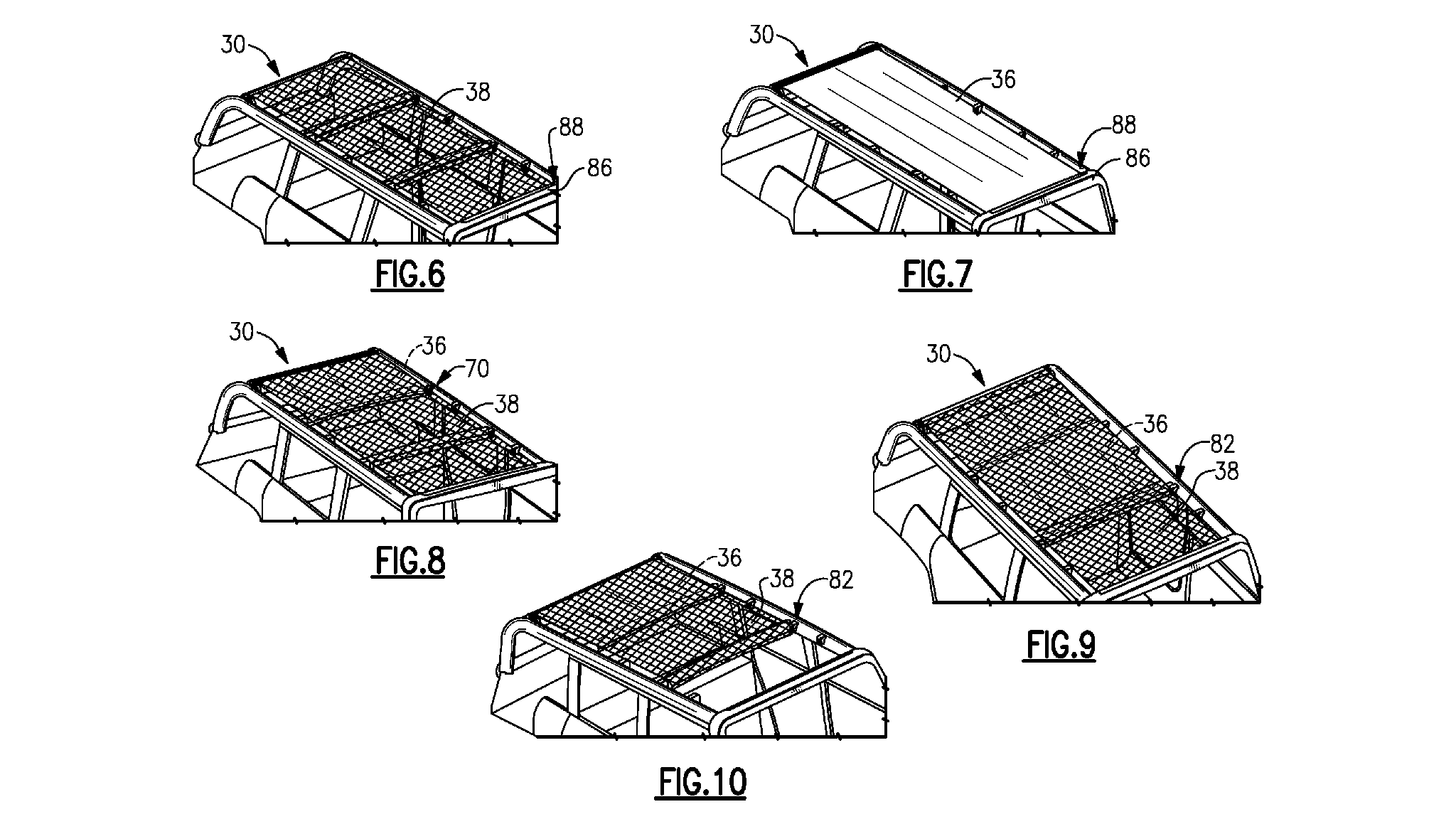
Sketches show that Ford’s removable top could sit below hard top roof panels which can also be lifted up and out of place. It appears as though the roof consists of two layers, one made from mesh and the other constructed from cloth, both of which can be removed.
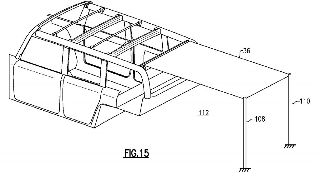
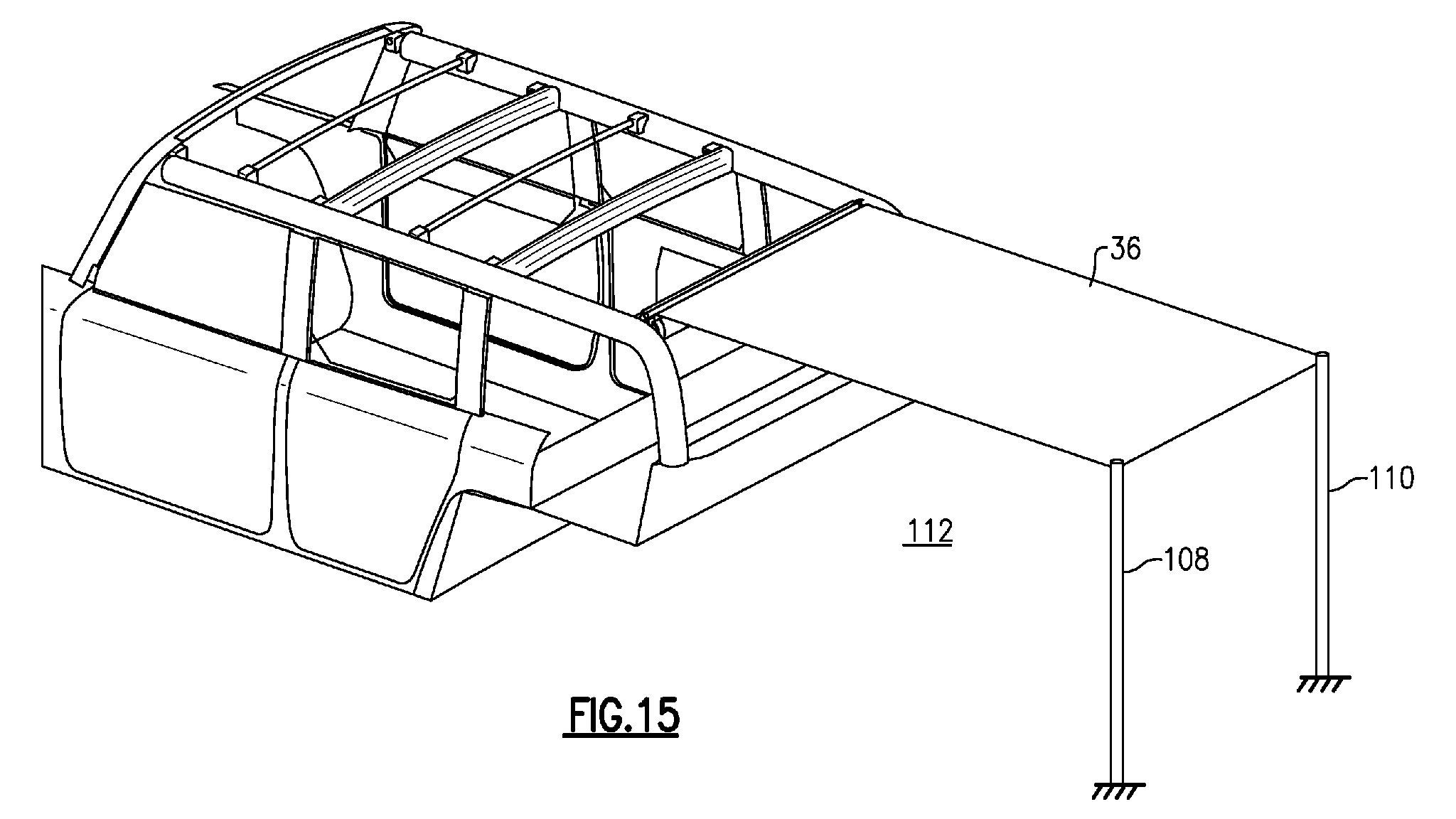
That’s not all. Another design sketch depicts the removable cloth top extending out of the rear and supported by a pair of stakes, much like an awning you’ll find in caravans. This could make the next-generation Bronco absolutely perfect for recreational activities, with occupants being able to use the cloth top as a sun shade when the vehicle is stationary.
Maybe Jeep needs to watch its back
While it remains to be seen if Ford actually intends on bringing this unique roof design to the market with the new Bronco, it appears the car manufacturer is looking to ensure its new SUV is just as well-suited to recreational activities as the latest Jeep Wrangler.
Ford allegedly unveiled a Bronco prototype at a conference back in February and dealers claim that the vehicle included a retro design with round headlights and a rectangular front grille with ‘Bronco’ badging. It is also alleged that the Blue Oval is working on both two- and four-door variants in a bid to appeal to a larger clientele.
The automaker is remaining rather silent about the new Bronco in public, but is expected to unveil the new SUV in late 2020.







