A series of new patents of the new-age Ford Bronco have emerged online, showing the Jeep Wrangler-like removable doors the vehicle appears set to receive.
In late March, patent images from Ford Global Technologies showcased a forthcoming SUV from the American car manufacturer with doors that could be removed. The vehicle depicted in these renderings appears slightly smaller and the doors themselves are slightly different.
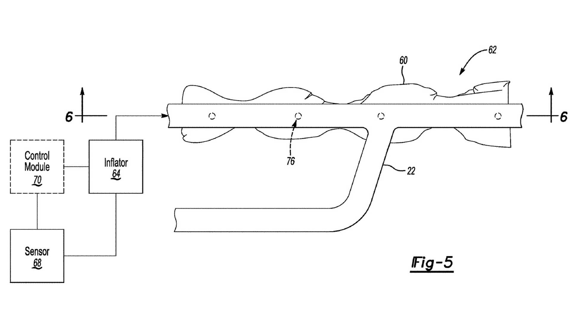
One particularly interesting aspect of the removable doors featured in the patents filed with the United States Patent and Trademark Office is that they detail how an airbag could be incorporated around a horizontal tubular support that sits where the door would ordinarily be found. The patent describes how high-pressure gas could be sent through the vehicle’s tubular structure to inflate this airbag.
Also Read: Ford’s Baby Bronco Wants To Take The Fight To Jeep
“This disclosure relates generally to an inflatable device that can protect an occupant of a vehicle. More particularly, the disclosure relates to in inflatable device for use in a vehicle equipped with a detachable door when the detachable door is detached from the vehicle,” the patent describes.
Of course, the publication of these patents by no means confirms that the long-awaited new Bronco will feature removable doors but we’re willing to bet that it will. After all, Ford will have to convince buyers to get behind the wheel of the Bronco as opposed to the Jeep Wrangler which as we know, is available with removable door panels.
The all-new Ford Bronco will allegedly launch in late 2020. A separate patent from late March also described how the new Bronco could feature a detachable cloth top.







