A series of new patents filed by Ford with the United States Patent and Trademark Office show that the new Ford Bronco could be offered with a removable roof.
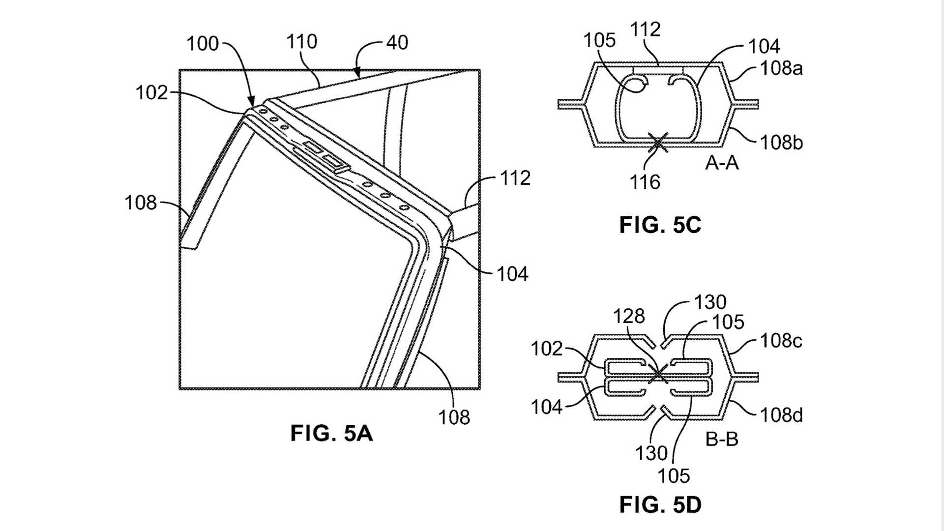
The patents, picked up by Ford Authority, were only recently published and depict a square-shaped SUV with a roof that can be removed in a not too dissimilar way to the current Jeep Wrangler. One of the particularly intriguing aspects of the roof are lower and upper B- and C-pillars that slot into each other while there would be a hinge at the A-pillar to help clip in the front of the roof.
Jeep Wrangler Rival: Ford Bronco May Get Detachable Cloth Top Alongside Removable Doors
Using a roof like this may invoke visions of crushed cabins in the event of a serious crash. However, Ford has already tested for this and an image in the patent filing shows that the roof is able to withstand more than four times the vehicle’s weight before being crushed inwards by more than 5 inches.

The Ford Bronco R Prototype hints at the production version
A host of other patents believe to be related to the Bronco have surfaced in recent months. Back in late August, patents first filed by Ford in March 2019 showcased removable doors and how the off-roader could feature a horizontal brace where the door would usually be that houses its own airbag. Then, back in April, a separate patent picked up by Automotive Magazine depicted a new Ford model with a detachable cloth top that could double as an awning stretching out from the rear of the vehicle.
The long-awaited new Ford Bronco will launch next year.





