A series of patents indicate that Ferrari is working on its first all-electric production vehicle and that it could be a two-seater akin to the Tesla Roadster.
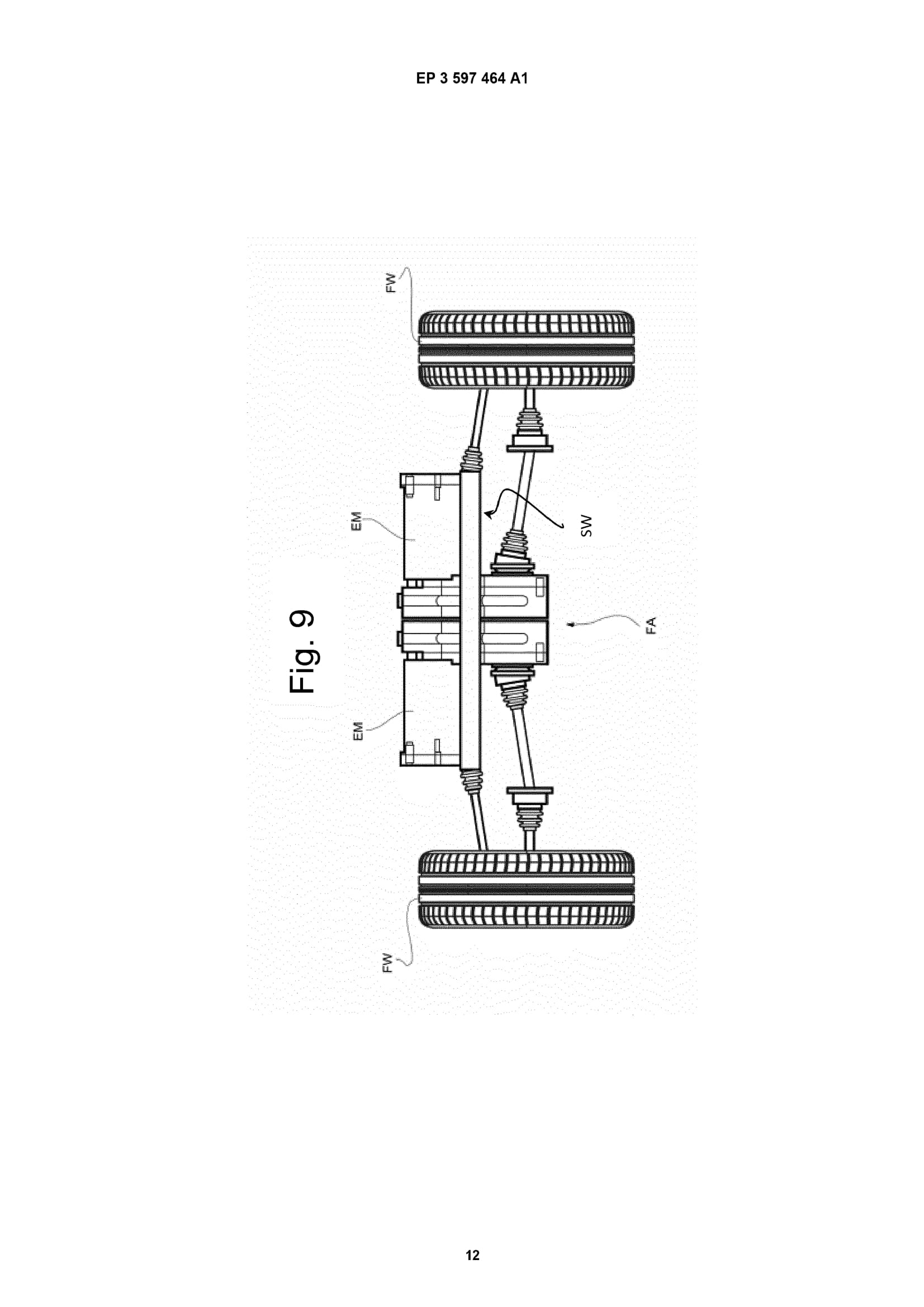
These patents were filed with the European Patent Office in July 2019 and published earlier this week on the Taycan EV Forum. Illustrations included in the patent depict a vehicle with two seats and no less than four electric motors with one powering each wheel. These electric motors could operate independently to offer extraordinary performance.
Related: Ferrari To Slow Down Its Model Launch Rate Next Year
Interestingly, the patent material also describes how the four electric motors could be configured to operate alongside an internal combustion engine. There’s also a possibility a single electric axle could provide supplementary power to an engine.
While the illustrations in the patent application depict a two-seater, that’s in no way confirmation the first EV from Ferrari will be a two-seater to rival some of the market’s newly-emerging all-electric hypercars. In fact, we’d be quite surprised if a car manufacturer like Ferrari was willing to produce an EV with more power and performance than any of its more traditional ICE-powered supercars and hypercars, especially as its flagship engines still have some life left in them.
Either way, it’s obvious Ferrari is open to adopting all-electric power. Speaking on the matter late last year, company chief executive Louis Camilleri told the media that limitations with current battery technology will prevent the automaker from releasing an EV until after 2025 at the earliest. Camilleri added Ferrari was examining the prospect of a fully-electric grand tourer.












