The off-road wars are on and Ford may be looking to strike the next blow with a nifty little feature aimed at improving departure angles as it has filed a patent for a “retractable tail pipe for vehicle exhaust system.”
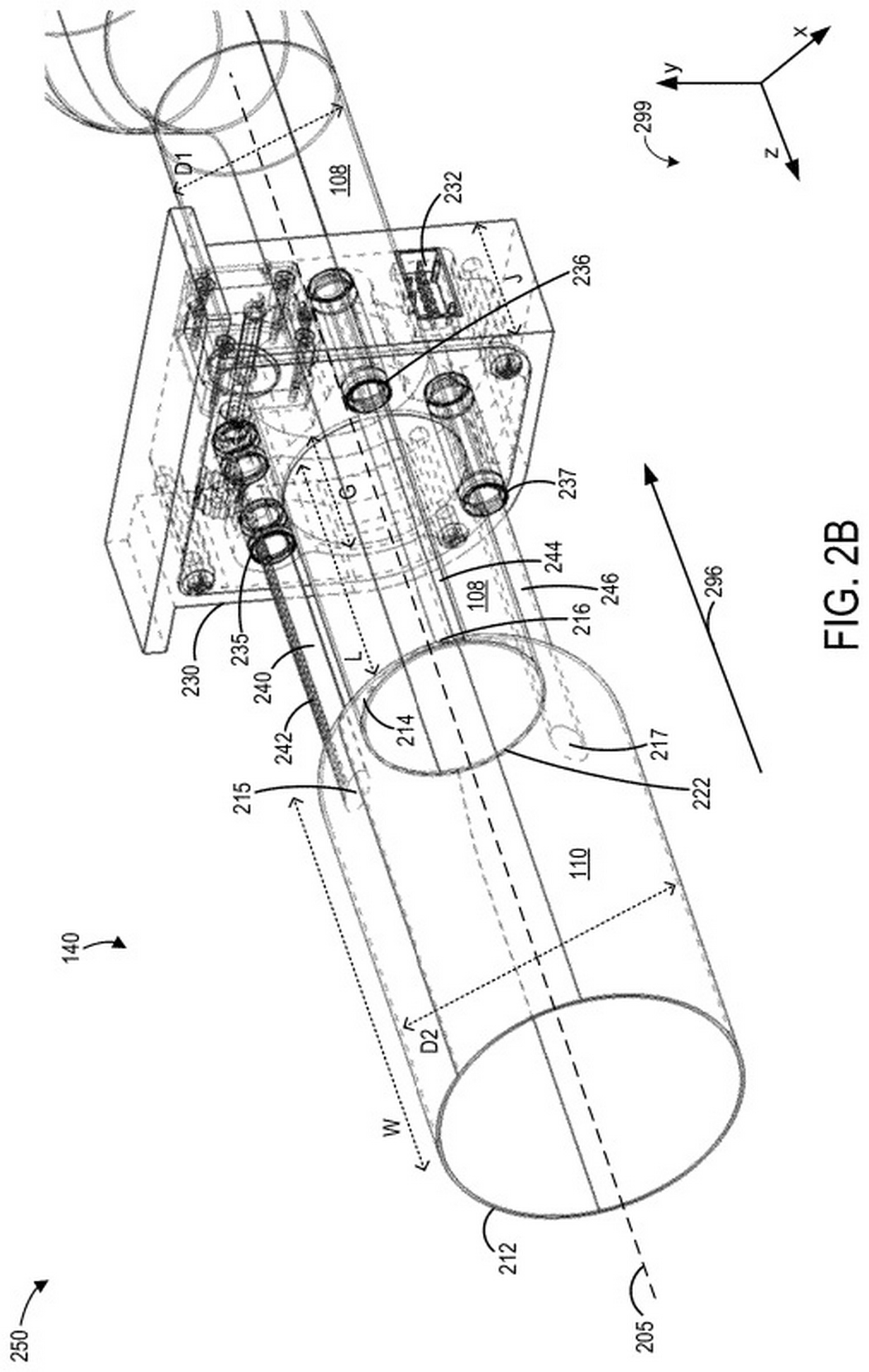
First noticed by CarBuzz, the patent application was filed in the U.S. and Germany and describes a system by which an exhaust tip could slide in on itself to reduce its length. Thus, it could hide under the bumper, making that the limiting factor for departure angles, not the exhaust pipe.
“The departure angle of many off-road vehicles is much smaller than their approach angle. This difference between the approach and the departure angles may cause several problems,” writes Ford in the application.
Read Also: Tesla Wants To Use Lasers To Zap Dirt From Windshields
“In one example, when subjecting the vehicle to certain types of difficult terrain, due to its small departure angle, tailpipes of the vehicle may hit the ground causing scratches, compression, and potentially deformation of the tailpipes. This can have a negative impact on the way the customer perceives the capabilities of the vehicle.”
By sliding the exhaust tip back, Ford could improve its SUVs’ off-road capabilities without redesigning their rear end. It would also help protect drivers from bashing their off-roader’s exhaust pipes.
A driver could conceivably operate the system by simply putting their vehicle into the off-road mode, making this just one more of the features that optimize a vehicle for driving off the beaten path.
Whether this will actually make it into production remains to be seen, but with the Bronco and Bronco Sport having recently joined the lineup, and Ford adding the Timberline trim to more models, there’s certainly no shortage of vehicles that could use the technology.











