Ford has filed an interesting new patent that could be destined for a number of its products, such as their high-end F-Series pickup trucks or, more interestingly, a future, high-performance Mustang with all-wheel drive.
First noticed by Autoguide, the patent for a “twin motor drive system for [a] hybrid electric vehicle” features an undisclosed V8 engine and two electric motors. According to the patent, the internal combustion engine powers the rear wheels, while the two electric motors power the front wheels.
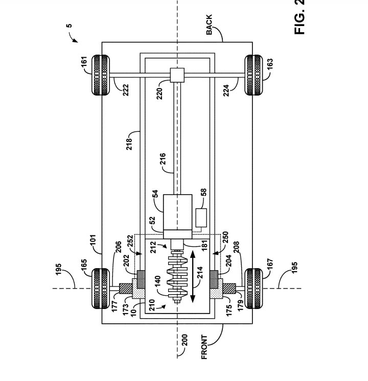
Besides giving vehicles a significant amount of power, the twin motor drive system would enable them to have a compact all-wheel drive system. As Ford explained, traditional all-wheel drive vehicles use a transfer case to distribute power to all four wheels. However, “in vehicles having a smaller amount of space for drivetrain components, packaging the components of an all-wheel drive system may be difficult.” As a result, they developed this new powertrain which has significant packaging benefits over traditional all-wheel drive systems.
The patent also suggests the engine could be equipped with an integrated starter motor/generator. Ford says this would create electricity for motors while also reducing the electrical load on a vehicle’s battery or batteries.
Given the patent relates to a rear-wheel drive model with packaging concerns, there’s naturally speculation that the twin motor drive system could eventually surface in the Mustang Hybrid that will debut next year. That remains unconfirmed at the movement, but Ford has previously said the model will have “V8 power and even more low-end torque.” While that could imply the Mustang Hybrid will use a V8, the automaker has also said the car will be “all about delivering V8-like performance with more low-end torque.”
The latter statement implies the Mustang Hybrid won’t have a V8 engine and will instead use electrification to deliver V8 levels of performance. This has led to rumors suggesting the high-tech pony car will use the 2.3-liter EcoBoost four-cylinder from the current low-end Mustang and an electric motor that is located between the engine and transmission. This setup is rumored to give the car an output of around 400 hp (298 kW / 405 PS).
While the twin motor drive system may not debut in the 2020 Mustang Hybrid, there’s always the possibility it could show up in the next-generation pony car which is slated to arrive early next decade. Little is known about the model, but previous reports have suggested Ford is looking into the possibility of an all-wheel drive variant as well as a full electric version.




