Ford appears to be developing a removable roof system for the Ford Ranger, patents uncovered by Ford Authority reveal.
A host of recent patents belonging to the Dearborn-based car manufacturer indicate that the upcoming Bronco will receive removable body panels much like the Jeep Wrangler, and it appears as though Ford is also looking to ensure that the Jeep Gladiator doesn’t get to be the only pickup that gets to utilize similar removable parts.
Also Read: New Patents Show The Upcoming Ford Bronco With Removable Doors
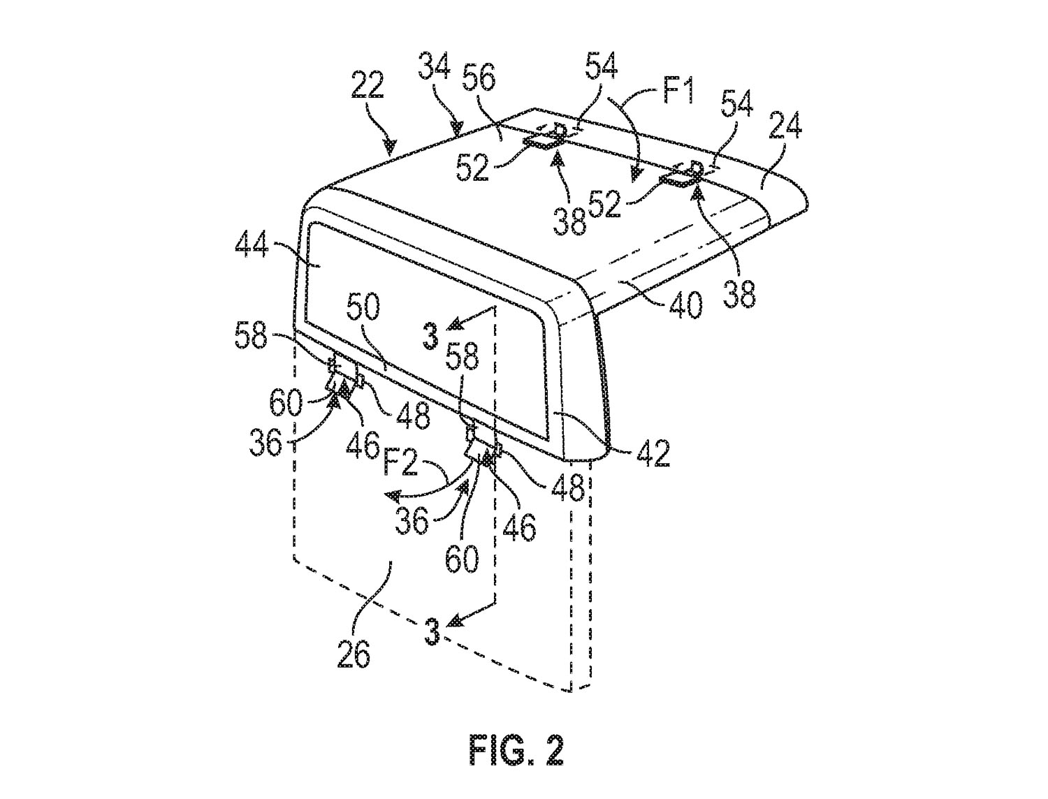
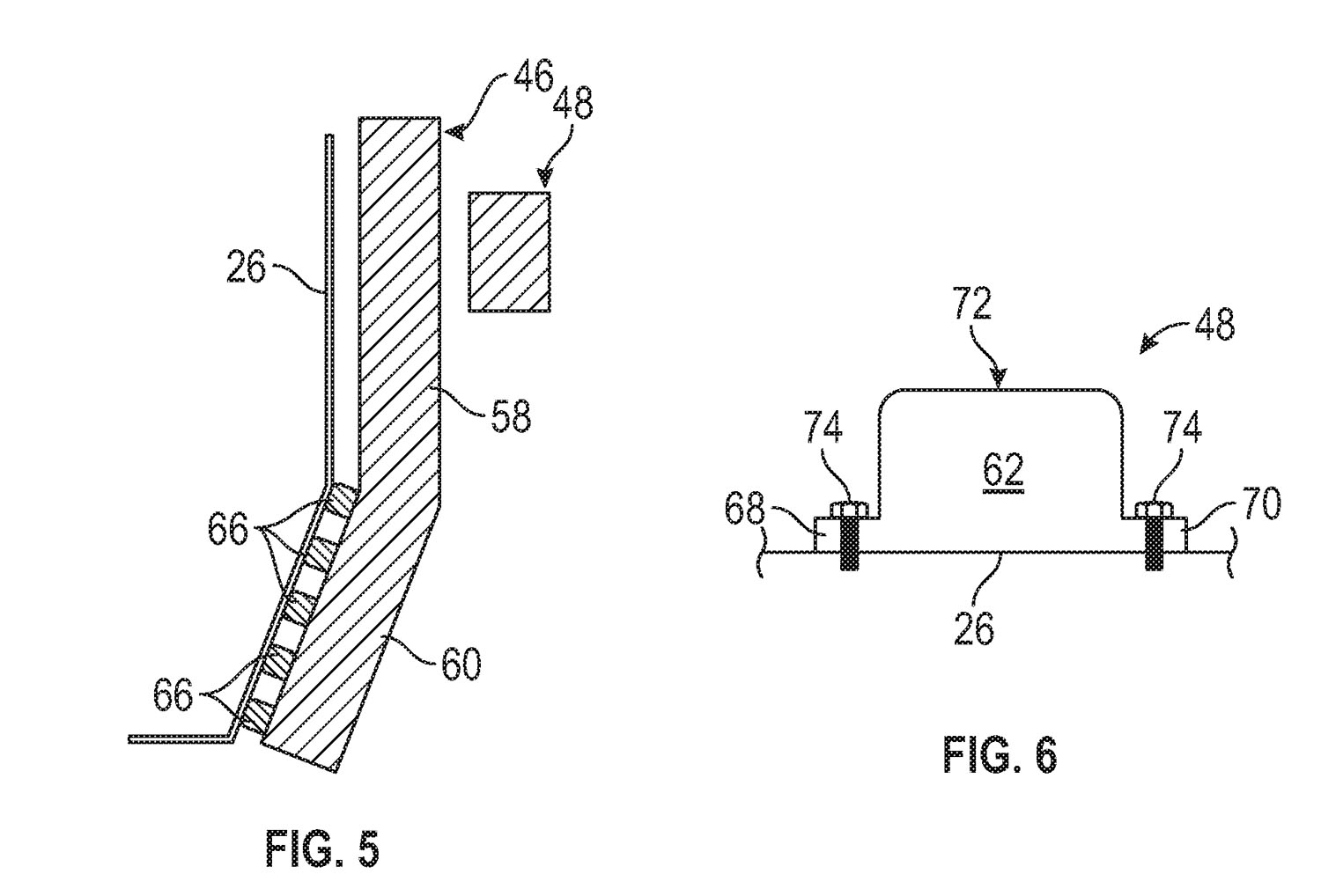
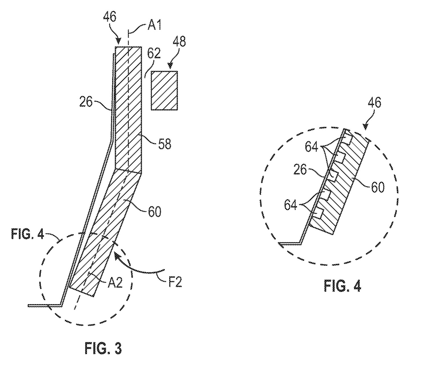
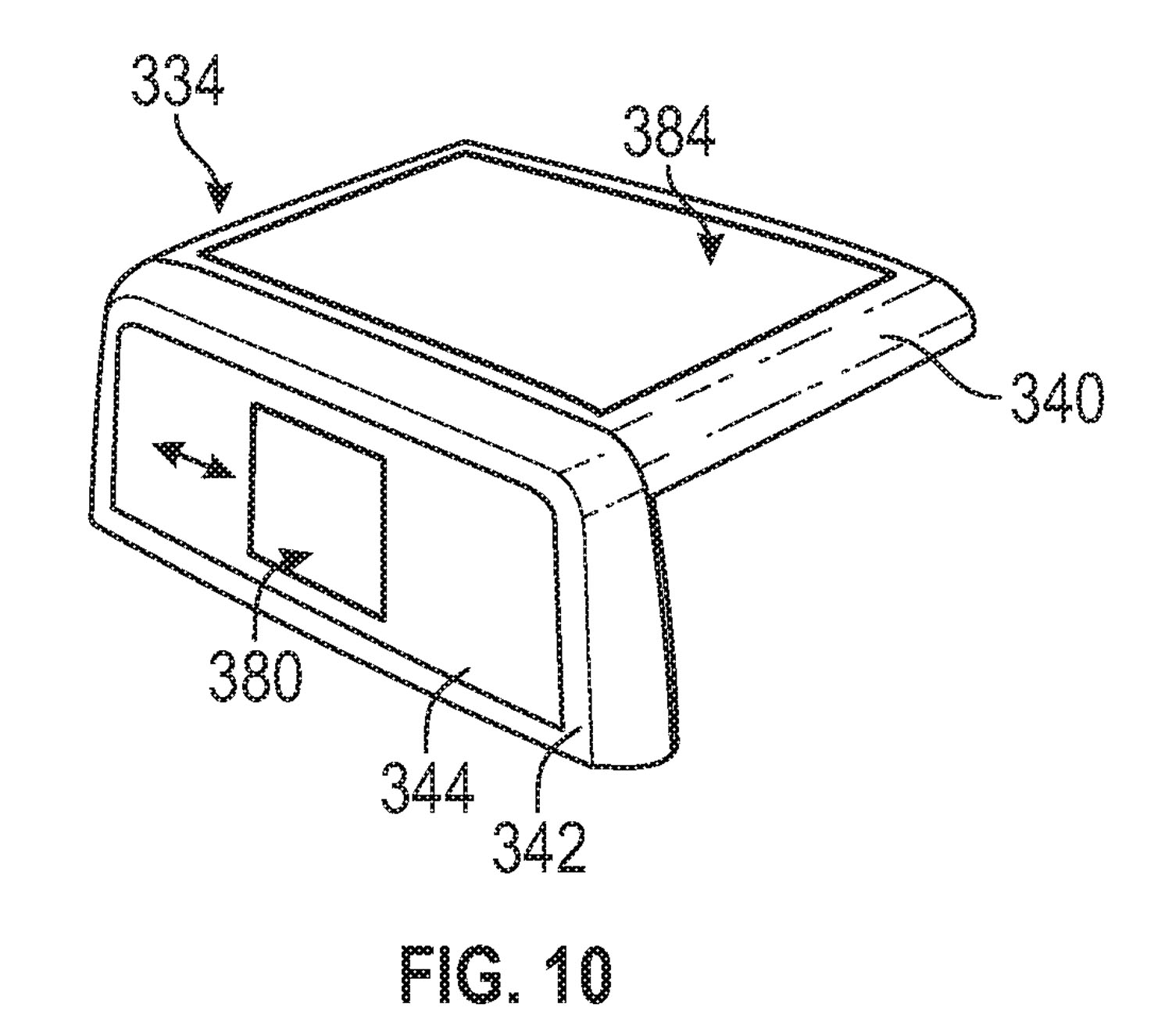
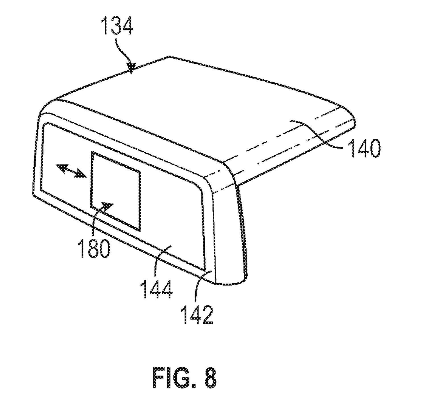
In the patent images, we can see that the roof of the mid-size pickup sports handy clamps to make the roof very easy to remove. In addition, the application describes the roof as having a self-aligning mounting system to ensure owners can quickly and easily re-install the roof whenever necessary. Pickups with and without opening rear windows are also described and pictured.
One thing that the patent fails to describe is if the roof panel can be stored and secured in the bed or if owners will simply have to leave it at home. It also remains unclear what Ford pickup could be the first to feature such removable roof panels. One possibility is that the next-generation Ranger being developed alongside Volkswagen could be the first.
There has also been talk in recent months suggesting the upcoming Ford Bronco will be sold in pickup guise as a direct rival to the Gladiator. It’s, therefore, entirely possible that the Ranger won’t be the Ford pickup to feature such a roof system, and that it will instead be the Bronco pickup.







