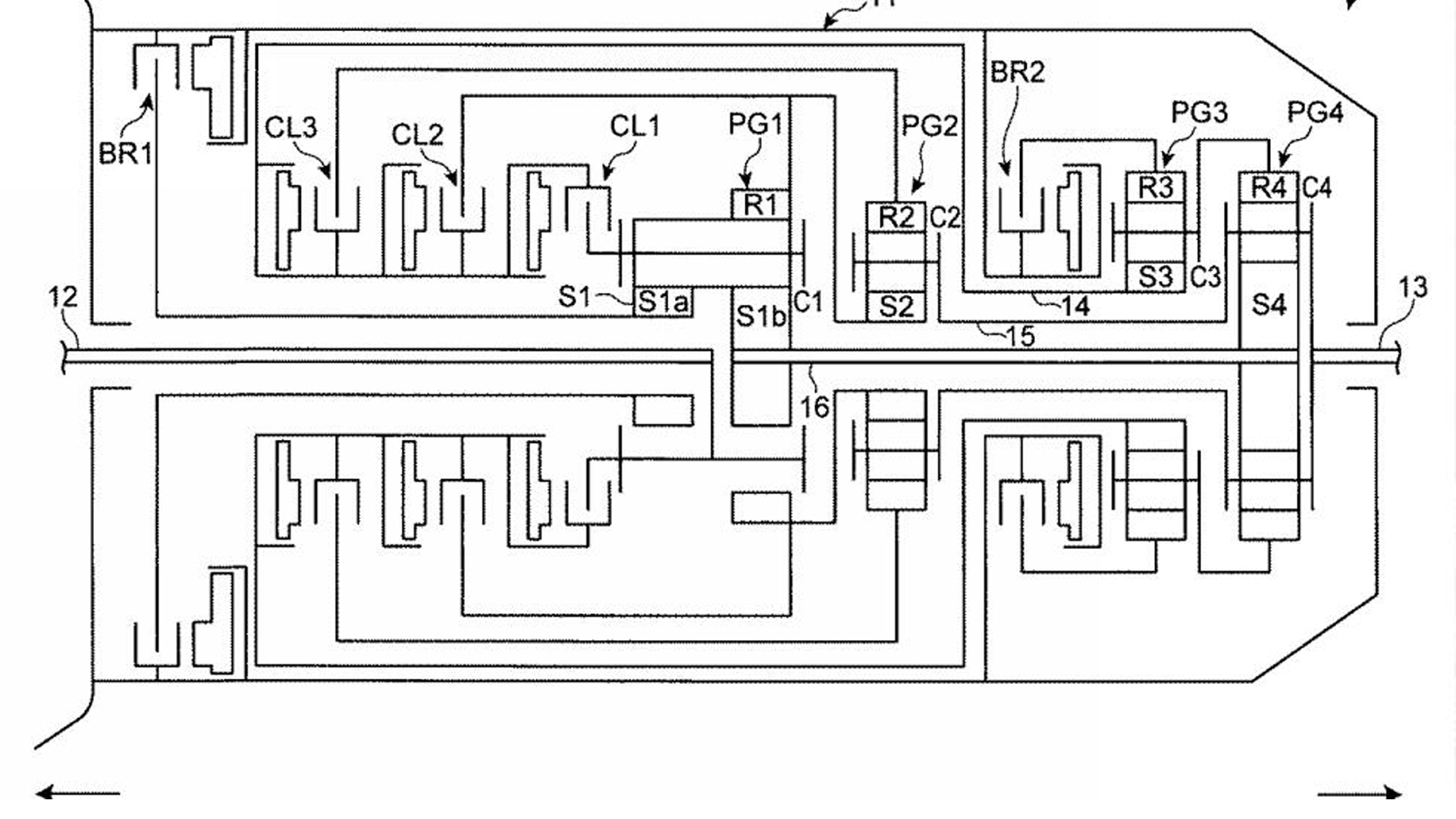
A series of patents from Mazda has provided a glimpse of the new inline-six engine it is developing as well as a new eight-speed automatic transmission in the works, Autoblog reports.
In early May 2019, an investor report revealed the Japanese car manufacturer is developing Skyactiv-X and Skyactiv-D inline-six powertrains that will be installed in a new large architecture platform. It is the former petrol-powered inline-six that could power a future sports car from Mazda, a sensational report claimed earlier this week.
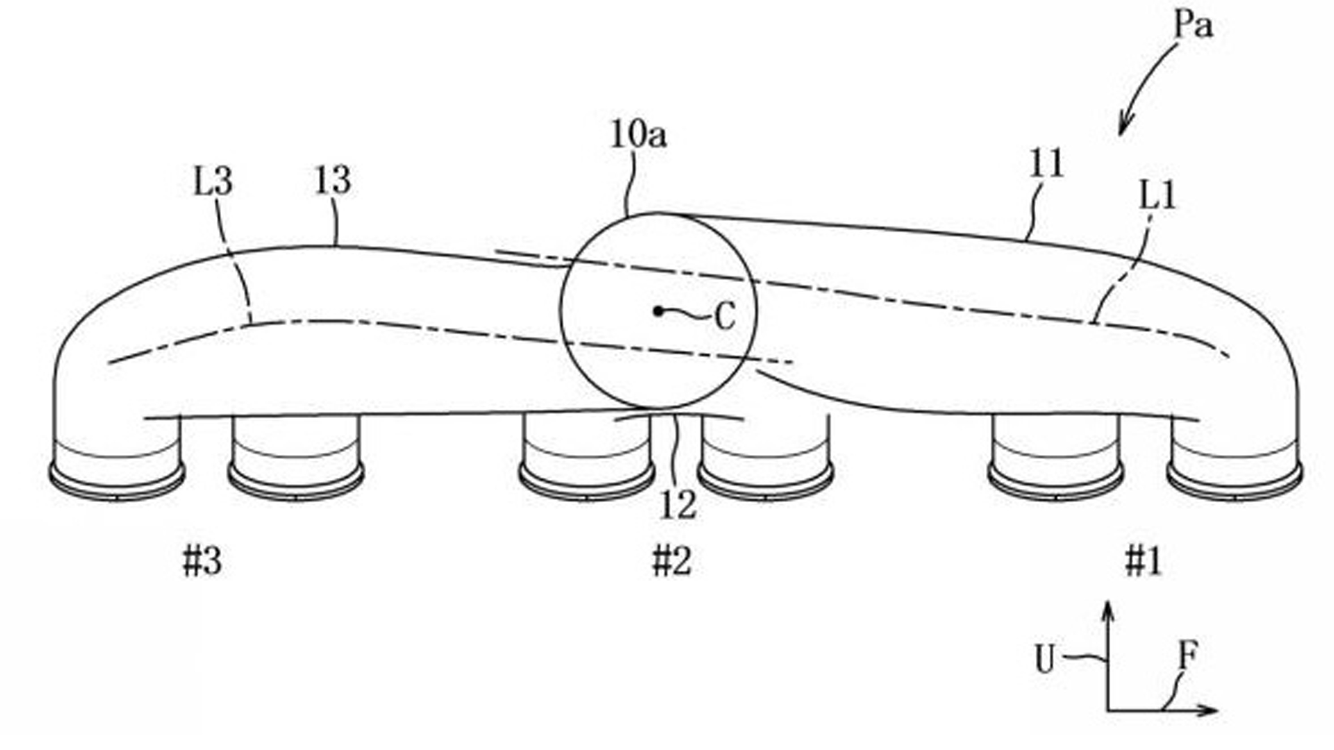
The patents in question depict the layout of this inline-six engine while also previewing the exhaust design that could be scalable and used with inline and perhaps also V-engines.
“Provided is an engine exhaust structure capable of securing exhaust efficiency while reducing the size of the engine by changing the structure of an exhaust port,” a translation of the patent reads. “[T]here has been proposed a technique for collecting exhaust gas discharged from each cylinder inside a cylinder head without using a separate exhaust manifold with the aim of downsizing the engine.”
Also Read: New Mazda RX-9 Sports Car Could Feature Inline-Six Turbo, Not A Rotary
One sketch in the patent filing showcases an inline-six engine with only two exhaust ports to demonstrate how Mazda could make such an engine as compact as possible. This could also mean the inline-six is very small in capacity.
While it is unclear if Mazda intends on bringing this exhaust design to production, the patent indicates that the carmaker is thinking outside the box for its new inline-six and that can only be a good thing.
Few details about the eight-speed transmission are given but it seems likely to replace the current six-speed auto the company uses.







