Ferrari is known for performance-related innovations in the design and engineering of their supercars, inspired by their racing heritage. However, the company is also working on technological innovations in other sectors, like this smart air conditioning system that could be implemented in future models like the Purosangue.
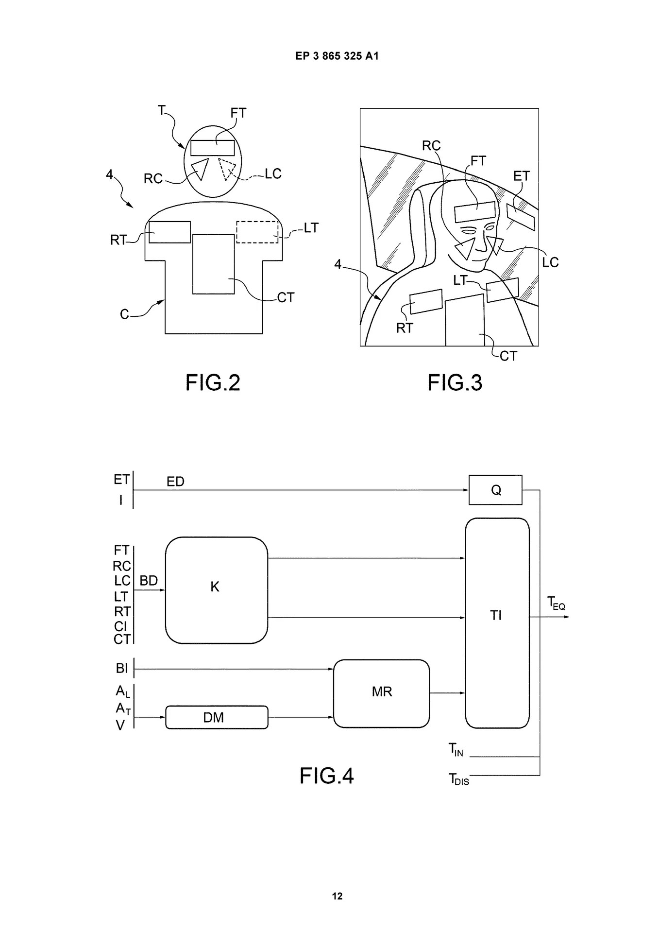
The patent, discovered by ferrari296forum, shows an advanced climate control system that sounds fitting to a luxury limousine. Thermal cameras are reading the temperature of different parts of the cabin and each passenger’s body while taking into consideration the passenger’s gender, body shape, and clothing.
Read Also: Everything We Know About The Future Ferrari Purosangue SUV And What It’s Got To Beat
Then, according to the received data, the system decides the optimum flow, direction, circulation, and temperature of the air coming out of the climate vents – or as Ferrari calls them the “plurality of ventilation devices”. This ensures that all passengers enjoy the best possible cooling or heating experience in their Ferrari, regardless of outside weather conditions.
As you can see, the patent drawing uses a high-riding three-box vehicle with four seats. Since the discontinuation of the GTC4 Lusso, Ferrari doesn’t have any vehicle with rear seats in its current range. However, there is the upcoming Purosangue, the Italian company’s first crossover/SUV, referred to as Ferrari Utility Vehicle (FUV), which could potentially be fitted with this type of technology.
Given that the Ferrari Purosangue will have to rival the likes of the performance-focused Lamborghini Urus and Aston Martin DBX, as well as the more luxury-oriented Bentley Bentayga Speed, and Rolls-Royce Cullinan Black Badge, it has to stand out not only in terms of performance but also in terms of technology.
However, the patent application doesn’t necessarily mean that this air conditioning system is destined for production, as companies sometimes just want to secure their ideas. In any case, the guys at Maranello have a pretty cool concept in their hands and we really hope it does make it to production.





