Automakers are always patenting interesting ideas their engineers may dream up and this latest creation from Toyota could be the long-awaited solution to a problem that affects pretty much every motorist.
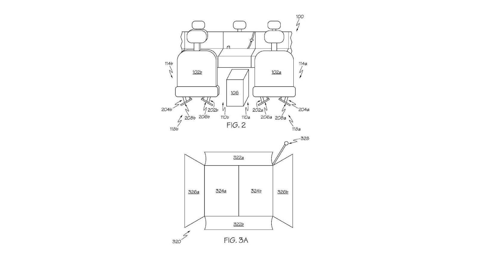
The gap between the driver’s seat and center console is nearly impossible to reach down, especially for someone with big hands, yet seems to always be the place where miscellaneous items fall into and are difficult to retrieve, whether that be a smartphone, coins or pretty much anything else you may keep in your pockets.
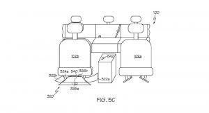
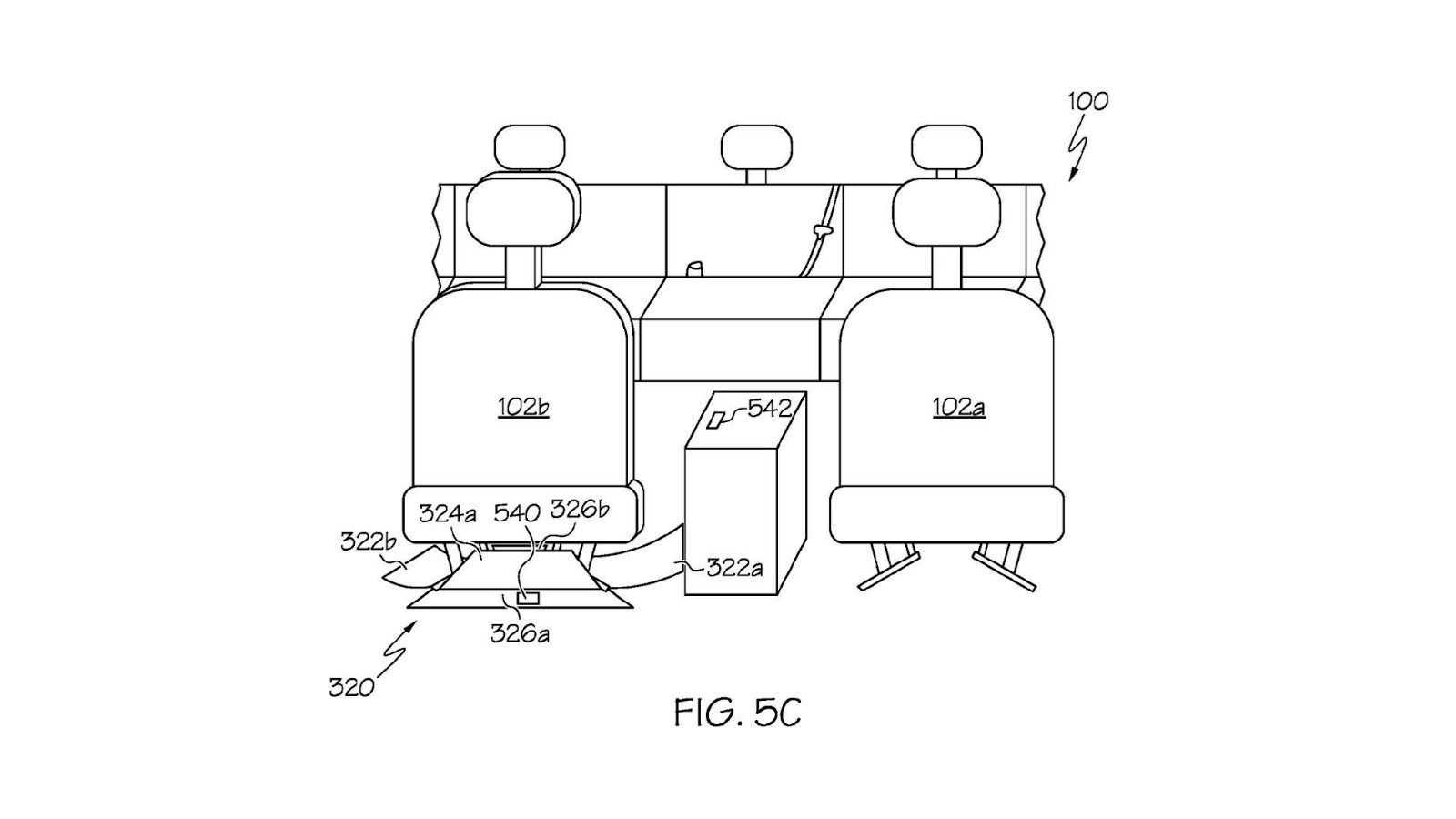
To solve the issues, Toyota has filed a patent application with the US Patent & Trademark Office for what it creatively calls an ‘under seat capture device’.
The device incorporates a chute that sits between the seat and center console and utilizes an actuator that changes the angle of the chute, allowing any objects it may capture to gracefully slide to a compartment directly under the seats.
There’s no indication if the Japanese automaker intends on bringing this life-saving piece of convenience to the market but we have our fingers crossed it does.






