The race to electrification has caused many automakers to rush into creating EVs, leaving other “green” options such as hydrogen in the dust. However, not all races are sprints, and just like the tortoise and the hare, hydrogen might be slowly catching up.
According to documents first discovered by Muscle Cars and Trucks, Ford has patented a turbocharged direct injection hydrogen-combustion engine design which could mitigate pre-detonation issues that can happen with hydrogen as a fuel.
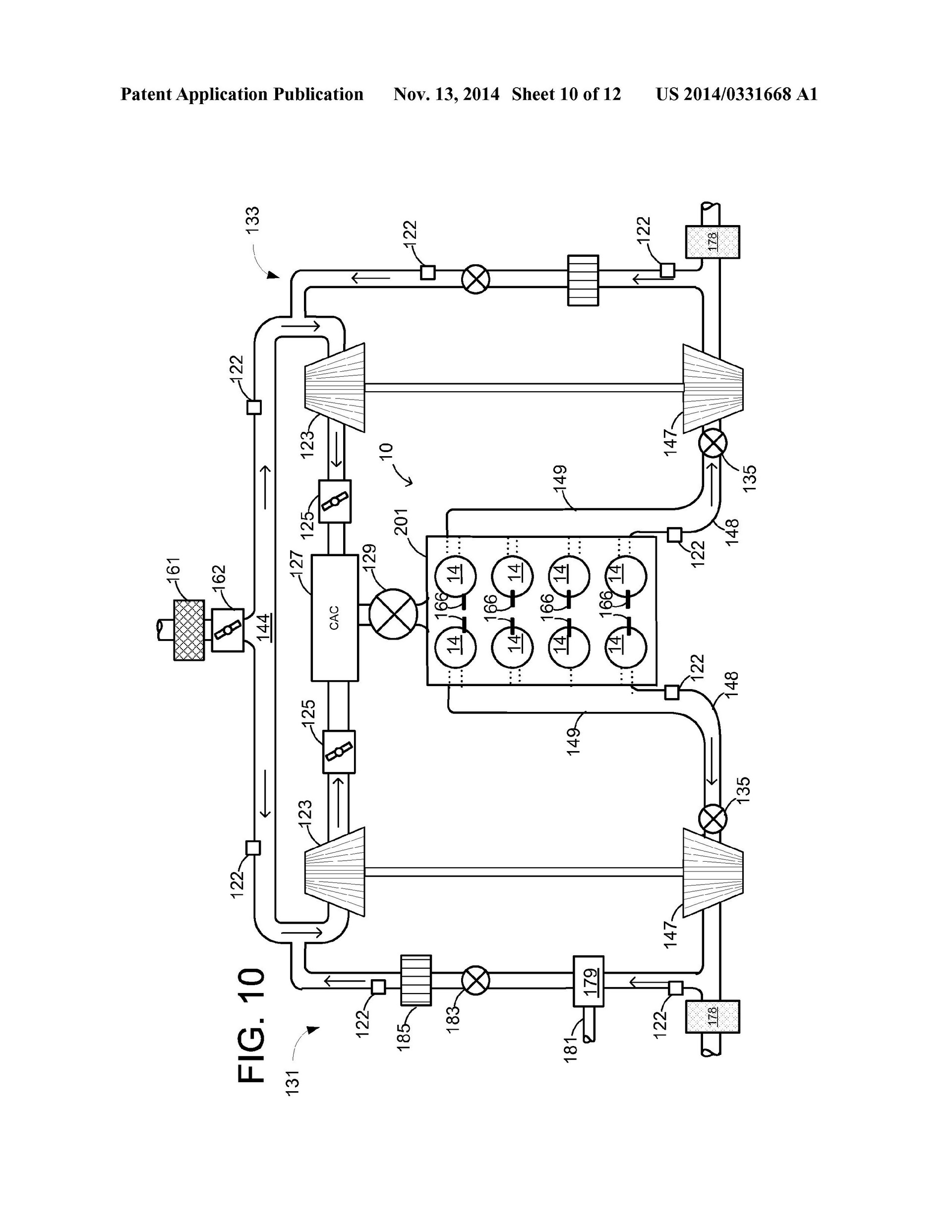
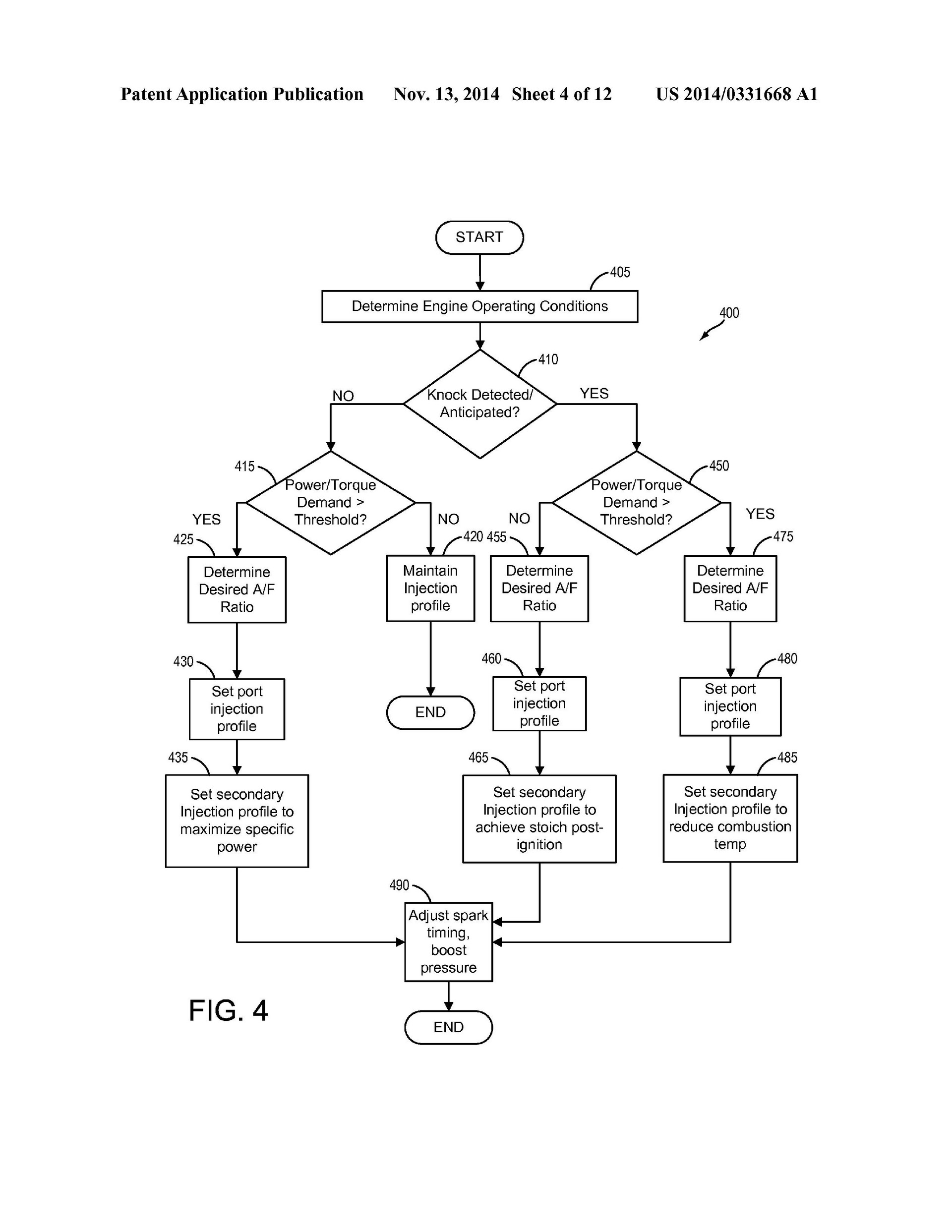
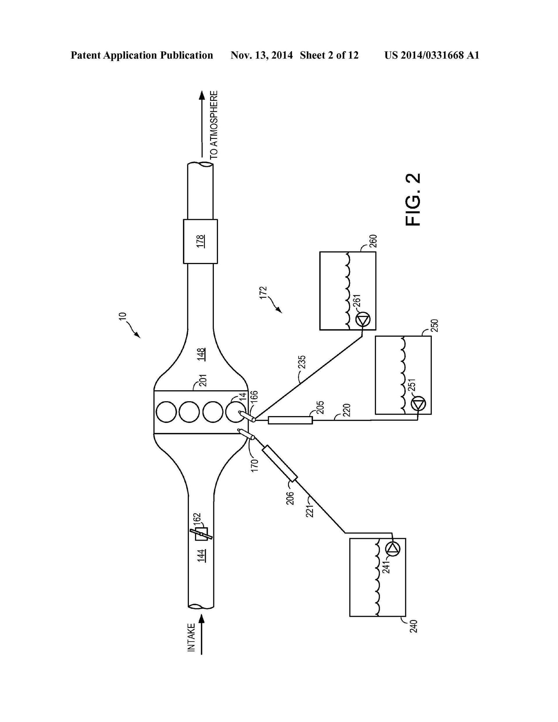
Rather than a finished engine, Ford’s patent shows how it plans to make air and fuel mix together at the right time for optimal efficiency.
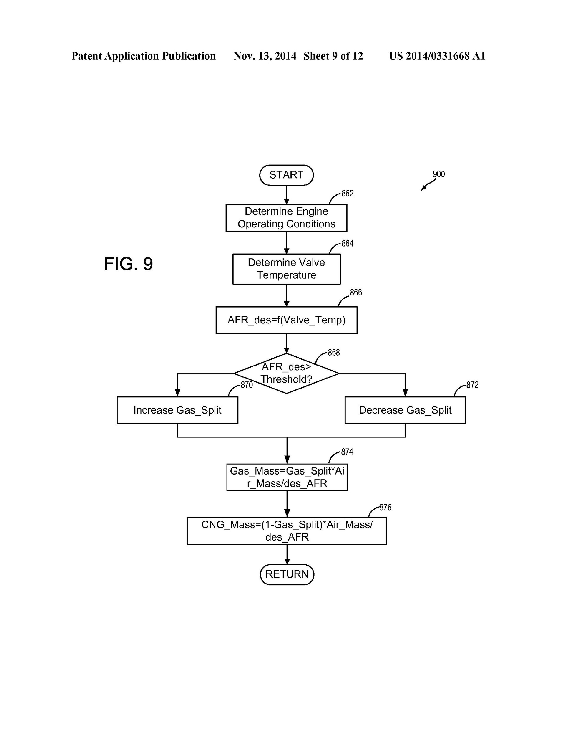
To put it simply, hydrogen likes to explode, therefore, controlling when it explodes is very important. If the engine isn’t receiving the correct mixture of air to fuel, the fuel can detonate early, which causes engine knock, power loss, and possible damage.
Read More: 2023 / 2024 Ford Mustang GT Takes To The Streets With “Definite V8 Rumble”
Ford’s design controls the air and fuel separately, using direct injection for the fuel and a fully variable exhaust gas recirculation (EGR) to control the air. Variable valve timing also helps to control the proper time for the air and fuel to enter the combustion chamber.
The system can increase EGR flow when more torque is required to reduce combustion temperature, therefore reducing early explosions. When less torque is required, EGR flow is decreased, reducing the amount of fuel.
While Ford’s patent only shows one cylinder, it’s not beyond the realms of possibility that it hopes to scale the technology up to feature multiple cylinders. If we’re lucky, we could see a hydrogen-powered V8 from the brand, which would prolong the life of the sports cars like the Mustang for years to come.
Electrification spells the end of the line for many sports car enthusiasts, but if manufacturers like Toyota and Ford can lead the way with hydrogen-combustion power, enthusiasts might still enjoy the sound and power delivery of a traditional internal combustion engine without relying on non-renewable energy.












