Porsche is now working on an active aerodynamics system that, beyond helping its vehicles carve through the air more efficiently, has the added benefit of hiding or exposing a hitch receiver.
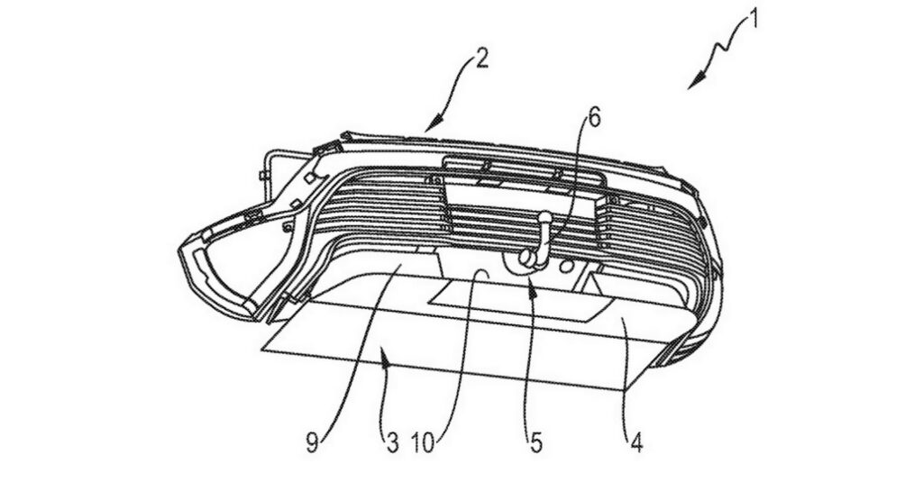
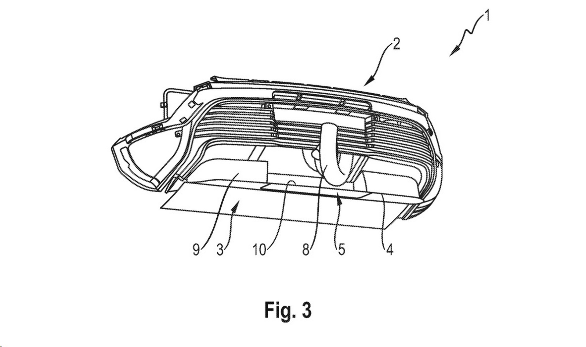
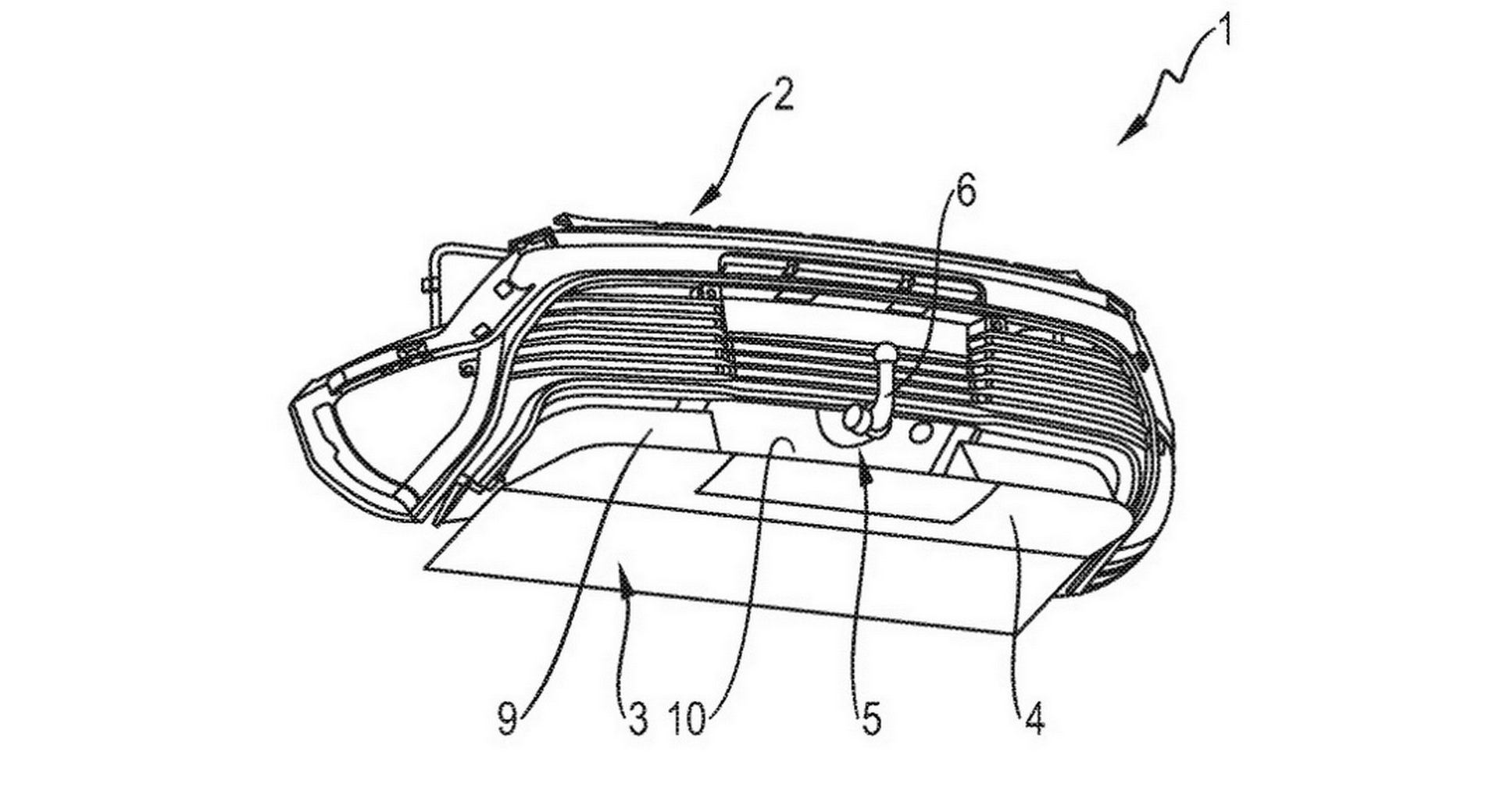
First discovered by CarBuzz, U.S. patent number US 2022/0177057, Motor Vehicle with a Rear Diffuser, outlines an under-car aerodynamic element that could be tipped down and moved away from the underside of a vehicle to make installing a removable hitch easier.
The invention would be particularly useful for the Porsche Cayenne, Macan, and even its wagons, all vehicles that could conceivably be used to pull a trailer and could also drive quickly enough to need a diffusor.
Read Also: Porsche Files Patent For Unique Active Rear Diffuser
But, as outlined by Porsche in its patent filing, the diffuser wouldn’t simply be decorative. The company is clear that it would have aerodynamic benefits. It also notes, though, that if the trailer hitch is attached, the diffusor could potentially be oriented so that air resistance is minimized.
Although reducing the coefficient of drag would benefit internal combustion vehicles that are towing, automakers have become especially concerned about aerodynamics now that EVs are hitting the road. With range anxiety still afflicting many buyers, it may behoove Porsche to develop new ways to improve aero efficiency in order to convince customers that their EVs can do everything that an internal combustion vehicle can do.
Since the company plans to unveil an all-electric Macan in the near future, the development of this technology makes sense. And, although patent photos tend to be chosen specifically not to reveal too much, the ones attached to this patent appear to be modeled off the Taycan Cross Turismo and the hitch looks to be European. Indeed, it may be the case that vehicles other than SUVs are equipped with the technology in the future, especially in markets where people are more likely to tow with smaller vehicles.






