While Apple remains tight-lipped on whether or not an Apple Car exists, proof of its existence may just have come about through the most unlikely way possible. Either that or Apple is trying to become the Webasto/ASC McLaren of the 21st century by offering some kind of aftermarket sunroof solution.
With the latter’s chances about as possible as a snowball’s chance in hell, it looks like there will be plenty more than just a self-driving EV to look forward to.
Some of the latest Apple Car reports indicated that the tech giant would go it alone, with talks between several carmakers last year —including Hyundai and Nissan — leading nowhere.
Read: Apple Wants Its New Car To Be Fully Autonomous
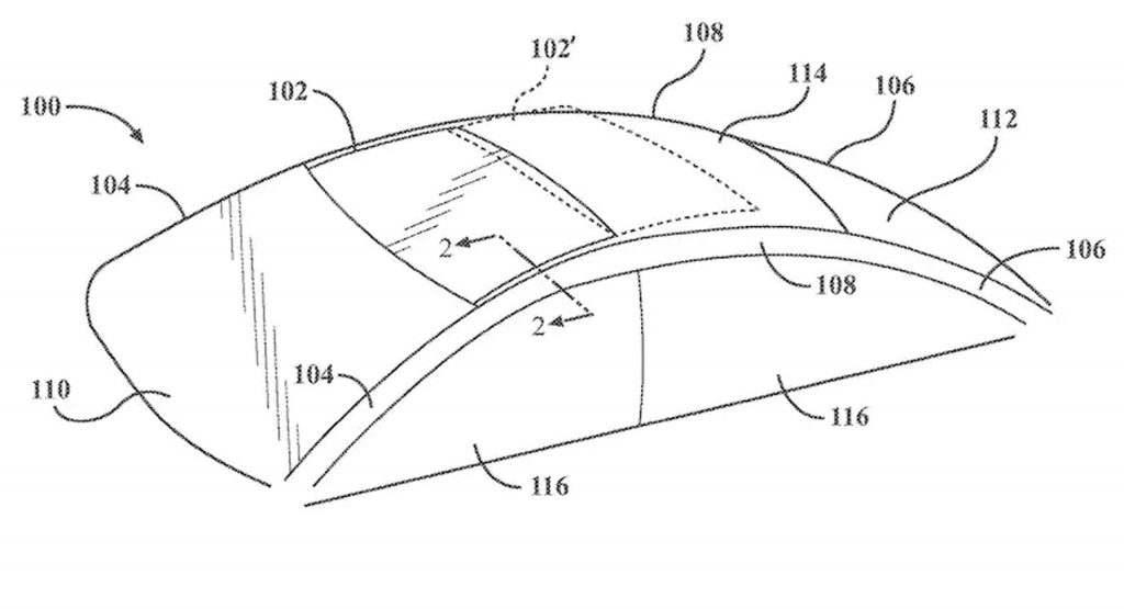
Apple’s Sunroof patent was originally filed in 2016 before being modified in 2020. While there’s nothing drastically new about the design, it seems to be the kind of feature that would fill half of a typical video presentation, being touted as “revolutionary tech.” In reality, it’s the combination of two distinct features that have been around for some time — an retractable glass roof, together with variable translucence.
The electrochromatic aspect has been used on cars before, such as the limited-run Ferrari 575 Superamerica back in 2005. But it could well be the first time it’s used as part of an opening sunroof. The patent also makes mention of the sunroof sliding in sequence with the windows and doors.
While a sunroof alone isn’t the most convincing piece of evidence that an Apple Car is on the horizon, it could be proof that some of the finer details are still being worked on. The importance of the sunroof could also significantly contribute to the reality of the “lounge-like” experience that Apple has been reported to be targeting, with traditional controls eschewed for the promise of level four or level five autonomy.
H/T To Motortrend



