Manual transmissions were already on life support before electric cars made it big, but it looked like the mass switch to EV power was definitely going to be the final nail in the coffin.
Toyota, however, has other ideas. While it’s firmly embracing an electric future with cars like the bZ4X, the company has filed eight patents in the U.S. suggesting it will offer future electric vehicles with fake manual transmissions.
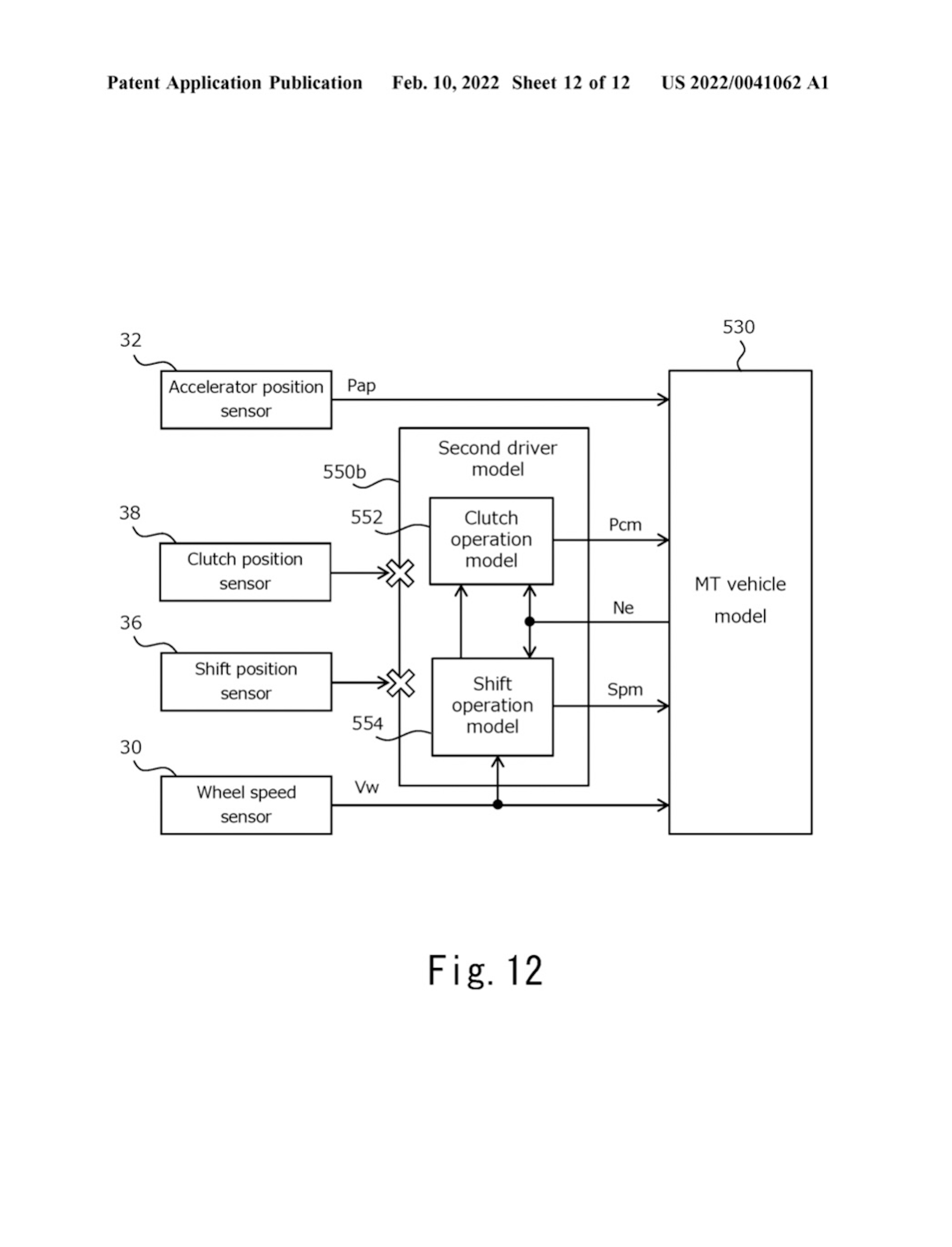
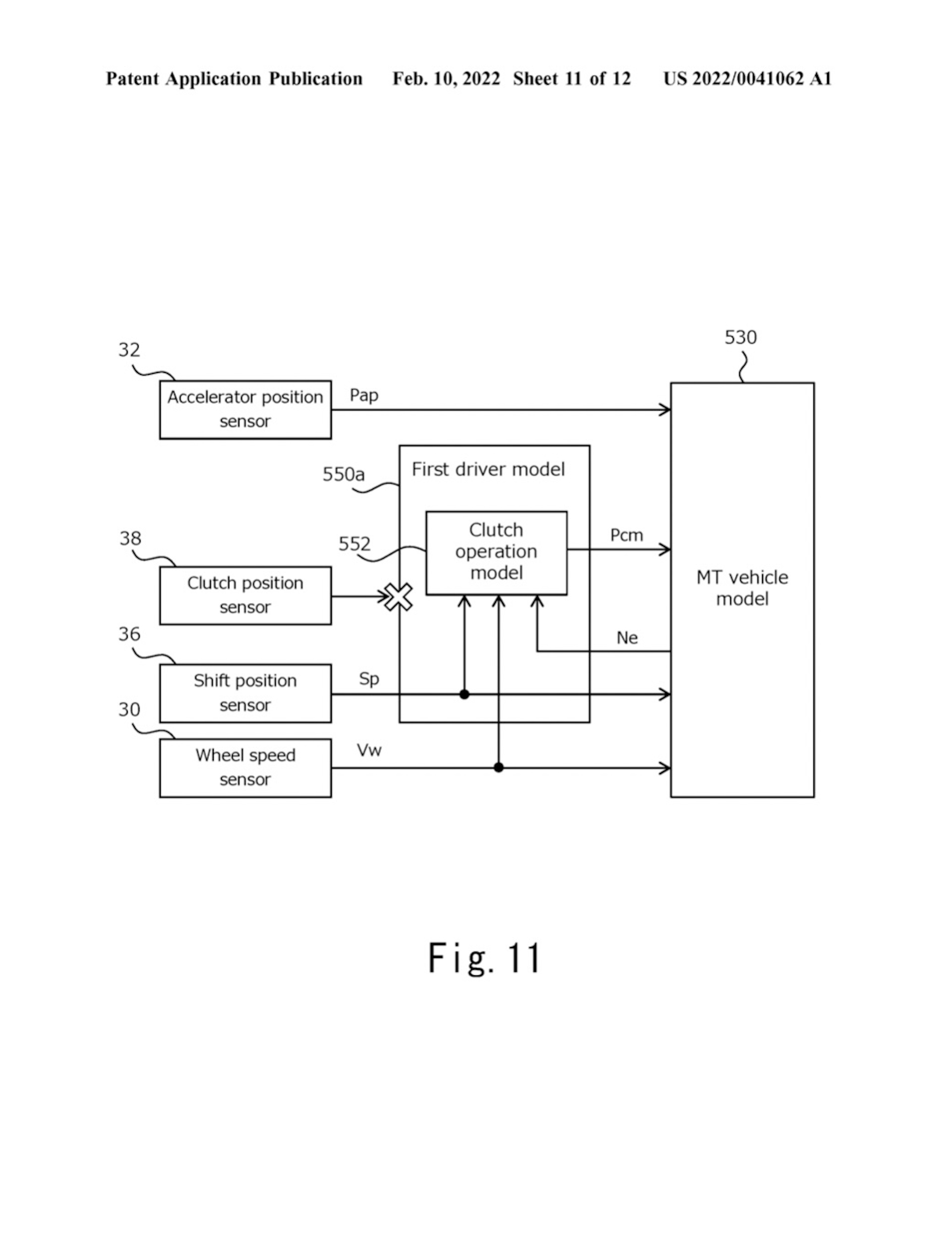
The patents, first seen in BZ Forums, but filed in summer 2021, cover several technologies, including a simulated clutch pedal, simulated gearshift, and a method of interrupting torque flow to mimic the experience of driving a traditional manual-equipped combustion-engined car.
Here’s an extract from one of the patents:
“The electrical vehicle includes a shift lever and a clutch pedal for pseudo-realizing the manual gear change of the MT vehicle…The shift lever is operated by the driver to select an arbitrary virtual gear stage mode from among plurality of virtual gear stage modes…The controller calculates the virtual engine speed of the virtual engine…and displays the virtual engine speed on the display.”
Related: QOTD: What’s The Best Manual Transmission You’ve Shifted?
The patents suggest Toyotas fitted with the system will offer three different modes. One requires the driver to use both the clutch and the gearshift, while the second removes the need to use the clutch, which Toyota suggests might be useful when parking, reversing, or when stuck in traffic. And in the the third mode, neither the clutch or shifter are used by the driver.
But the patent seems to suggest that in the third mode those functions will be handled automatically, so the car will behave like combustion car with an automatic ‘box, rather than performing like a conventional fixed-ratio EV. That could mean the system will be reserved for driver-focused performance cars, like a future Supra. And as the image above shows, you’ll even get a fake rev counter graduated to look like an ICE cars. Only 7600 rpm though? We’d shoot for 12k!
If this is all sounding slightly familiar, you’re probably thinking of Toyota’s 2017 GR HV concept. Essentially an electrified targa-top GT86, the HV allowed the driver to unlock a conventional H-pattern gate by pressing a button hidden under the gearknob’s cover. That was just a show car, but it’s clear now that Toyota was giving us a big hint that it was genuinely serious about saving the manuals.
Obviously at this stage we have no idea whether the technology will be any good at actually replicating the feel, or just the enjoyment, of a car with a manual transmission. But we’re all for it, particularly if you’re able to switch between manual and “automatic” modes.
Modern Ferraris, like the Roma, SF90 and 296 GTB, and Ares Design’s Panther, all feature a stylised retro-look shift quadrant, but it’s pure window dressing in every case. You can’t actually shift between individual ratios, only move from Drive to Reverse. But it’s hard to imagine how the likes of Porsche and Ferrari, brands who style themselves as the most driver focused of all, could not adopt similar tech to keep enthusiasts happy when it’s available on a humble $30,000 Toyota.
Would you welcome the idea of a fake manual transmission on EVs or does it sound like a terrible idea? Leave a comment and let us know.
H/T to BZ Forums









